加入購物車成功!
一、WRMK-131無固定裝置鎧裝熱電偶概述
傳統熱電偶是在藕絲上穿上一節一節的瓷珠組成,WRMK-131無固定裝置鎧裝熱電偶使用鎧裝芯。
電偶是用兩種不同成份的導體焊接在一起,兩端溫度不同時,在回路中就會有熱電勢產生,因此勢電偶是通過測量電勢從而測量溫度的一種感溫原件,它是一種變換器,它能將溫度信號轉變為電信號再由顯示儀表顯示出來。
WRMK-131無固定裝置鎧裝熱電偶電極是兩種不同成份的導體兩端經焊接,形成回路,直接測溫端叫工作端,接線端子端叫冷端,也稱參比端。當工作端和參比端存在溫差時,就會在回路中產生熱電流,接上顯示儀表,儀表上就會指示出熱電偶所產生的熱電動勢的對應溫度值。WRMK-131無固定裝置鎧裝熱電偶的熱電動勢將隨著測量端溫度升高而增長,熱電動勢的大小只和熱電偶導體材質以及兩端溫差有關,和熱電極的長度、直徑無關。WRMK-131無固定裝置鎧裝熱電偶的結構原理是,是由導體、高絕緣氧化鎂、外套不銹鋼保護管,經多次一體拉制而成。WRMK-131無固定裝置鎧裝熱電偶產品主要由接線盒、接線端子和WRMK-131無固定裝置鎧裝熱電偶組成基本結構,并配以各種安裝固定裝置組成。
WRMK-131無固定裝置鎧裝熱電偶具有能彎曲、耐高壓、熱響應時間快和堅固耐用等優點,它與裝配式熱電偶、熱電阻一樣,作為測量溫度的傳感器,通常和顯示儀表、記錄儀和電子調節器配套使用,同時亦可以作為裝配式熱電偶的感溫元件。它可以直接測量各種生產過程中從0℃~1300℃范圍內的液體、蒸汽和氣體介質以及固體表面的溫度。
WRMK-131無固定裝置鎧裝熱電偶與一般工業熱電偶一樣,與顯示儀表等配套,在一定的使用范圍內對氣體、液體介質或固體表面溫度進行自動檢測或自動調節。
二、WRMK-131無固定裝置鎧裝熱電偶工作原理
熱電偶測量溫度的基本原理是熱電效應,將兩種不同成份的金屬導體首尾相連接成閉合回路,如兩接點的溫度不等,則在回路中就會產生熱電動勢,形成熱電流,這就是熱電效應。熱電偶就是將兩種不同的金屬材料一端焊接而成,焊接的一端叫做測量端,未焊接的一端叫做參考端,參考端在使用時通常恒定在一定的溫度,當對測量端加熱時,在接點處有熱電勢產生。如參考端溫度恒定,其熱電勢的大小和方向只與兩種金屬材料的特性和測量端的溫度有關,而與勢電偶的精細和長短無關。當測量端的溫度改變后,勢電勢也隨之改變,并且溫度和熱電勢之間有一固定的函數關系,利用這個關系就可以測量溫度。
WRMK-131無固定裝置鎧裝熱電偶的熱電動勢將隨著測量端的溫度升高而增長,熱電動勢的大小只和WRMK-131無固定裝置鎧裝熱電偶導體材質以及兩端溫差有關,和熱電極的長度,直徑無關。
防爆WRMK-131無固定裝置鎧裝熱電偶是利用間隙隔爆原理,設計具有足夠強度的接線盒等部件,將所有會產生火花,電弧和危險溫度的零部件都密封在接線盒腔內,當腔內發生爆炸時,能通過接合面間隙熄火和冷卻,使爆炸后的火焰和溫度傳不到腔外,從而進行隔爆。
三、WRMK-131無固定裝置鎧裝熱電偶組成結構
WRMK-131無固定裝置鎧裝熱電偶的結構是由導體,絕緣氧化鎂和1Cr18Ni9Ti不銹鋼保護管經多次拉制而成,WRMK-131無固定裝置鎧裝熱電偶產品主要由接線盒,接線端子和WRMK-131無固定裝置鎧裝熱電偶組成基本結構,并配以各種安裝固定裝置組成。WRMK-131無固定裝置鎧裝熱電偶分絕緣式和接殼式兩種。

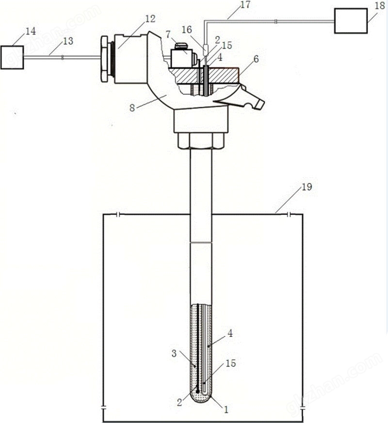
1-金屬保護管,2-熱電偶合金絲,3-耐高溫絕緣材料,4-不銹鋼細管,5-探測孔,6_絕緣接線板,7_接線柱,8_底蓋,9_上蓋,10-扣環,11-扣把手,12-出線孔,13-工業級補償導線,14-工業級溫度控制儀表,15-1級鎧裝熱電偶,16-冷端連接器,17-精密級補償導線,18-精密溫度顯示儀,19-工業加熱設備。
四、WRMK-131無固定裝置鎧裝熱電偶特點
1、熱響應時間少,減小動態誤差;
2 、可彎曲安裝使用;
3 、測量范圍大;
4 、機械強度高,耐壓性能好;
五、WRMK-131無固定裝置鎧裝熱電偶技術參數
1、產品執行標準
IEC584 IEC1515 GB/T16839-1997 JB/T5582-91
2、常溫絕緣電阻
鎧裝偶在環境溫度為20±15℃,相對濕度不大于80%,試驗電壓為500±50V(直流)電極與外套管之間的絕緣電阻≥1000MΩ.m。即1m長的試樣的絕緣電阻為1000MΩ;10m長的試樣的絕緣電阻為100MΩ。
3、測溫范圍及允差
型號 | 分度號 | 允差等級 | |||
Ⅰ | Ⅱ | ||||
允差值 | 測量范圍℃ | 允差值 | 測量范圍℃ | ||
WRNK | K | ±1.5℃ | -40~+375 | ±2.5℃ | -40~+333 |
±0.004ltl | 375~1000 | ±0.0075ltl | 333~1200 | ||
WRMK | N | ±1.5℃ | -40~+375 | ±2.5℃ | -40~+333 |
±0.004ltl | 375~1000 | ±0.0075ltl | 333~1200 | ||
WREK | E | ±1.5℃ | -40~+375 | ±2.5℃ | -40~+333 |
±0.004ltl | 375~800 | ±0.004ltl | 333~900 | ||
WRFK | J | ±1.5℃ | -40~+375 | ±2.5℃ | -40~+333 |
±0.004ltl | 375~750 | ±0.004ltl | 333~750 | ||
WRCK | T | ±0.5℃ | -40~+125 | ±1℃ | -40~+133 |
±0.004ltl | 125~350 | ±0.0075ltl | 133~350 | ||
WRPK | S | ±1℃ | 0~+1100 | ±2.5℃ | 0~600 |
±[0.003(t-1100)] | 1100~1600 | ±0.0025ltl | 600~1600 | ||
六、WRMK-131無固定裝置鎧裝熱電偶偶絲直徑及材料
偶絲形式 | 單支式 | 雙支式 | |
套管直徑 | Φ2 Φ3 Φ4 Φ5 Φ6 Φ8 | Φ3 Φ4 Φ5 Φ6 Φ8 | |
套管材質 | E、J、 T | 1Cr18Ni9TI | 1Cr18Ni9TI |
K、N | 1Cr18Ni9TI GH3030 | 1Cr18Ni9TI GH3030 | |
S | GH3039 | GH3039 | |















